Amazon es el Gran Hermano del reconocimiento facial
¿Por qué marcará un antes y un después en la privacidad?

La inteligencia artificial se ha posicionado como uno de los pilares tecnológicos más destacados de desarrollo para los próximos años. La innovación de la rama digital ha permitido que este apunte sea visto como una de las bases de inversión e investigación en el futuro. En este sentido, el reconocimiento en sus distintas modalidades será una importancia diferencial.
En relación con este subsegmento, hemos visto cómo las compañías de dispositivos móviles han estandarizado diferentes alternativas para desbloquear los terminales. Los reconocimientos dactilar, de iris y faciales se han convertido en ya una tónica tradicional en la telefonía. ¿Quién concibe un modelo actual el desbloqueo por PIN o a través de patrón?
El reconocimiento facial ha adquirido un mayor peso desde la aparición del Face ID de Apple
Desde hace unos meses, el reconocimiento facial es el que ha vivido con más intensidad un desarrollo que no para de crecer. El denominado Face ID de Apple causó sensación en la industria, por lo que tan solo unos meses tras su aparición, ya a día de hoy contamos con alternativas en este sentido.
Ahora bien, ¿será una aplicación destinada solamente al empleo del terminal? Amazon, una de las compañías que más está diversificando su gama de productos y servicios, ha llegado a materializar una solución denominada Rekognition, un sistema que permite la identificación de cualquier persona que discurra por un lugar determinado.
Su aplicación es inmediata, pudiendo ser dispuesta ya a los Estados y Departamentos de Policía a nivel internacional. ¿Por qué está siendo objeto de polémica una solución que ha demostrado ser eficiente para captar la imagen de delincuentes prófugos de la justicia o niños perdidos? El diario Daily Mail ha mostrado cómo es el clima actual de cara a su estandarización.
Recognition y su poder de detección profesional
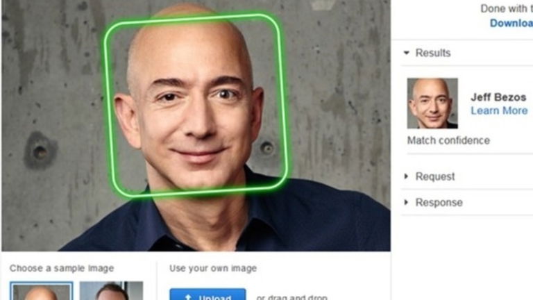
Jeff Bezos, una de las personas con mayor influencia en el mundo, ha conseguido patentar un sistema de reconocimiento facial que permitiría a los Agentes de la Autoridad detectar cualquier posible persona que se encuentre oficialmente fugada. ¿Cuál es el principal problema que entraña esta tecnología? Podría poner en riesgo la concepción que se tiene por la privacidad.
El sistema es capaz de detectar al instante qué persona puede estar circulando por una determinada calle tan solo con entrar en contacto con el sistema. Como es lógico pensar, no es necesario mirar un punto determinado para obtener el resultado de análisis; simplemente entrando en el radio de acción es posible su detección.
Rekognition está creado para ser más eficiente conforme se incremente su uso
Tal y como se puede leer en Tech Crunch, en relación con la imagen anterior, el sistema ya podría ser capaz de detectar celebridades gracias a su propio sistema de autoaprendizaje, el cual le permite guardar todas las instantáneas que se realizan para concretar con mayor probabilidad un resultado determinado.
De hecho, Recognition, según se puede leer en The Verge, se utilizó durante la retransmisión de la pasada boda real británica celebrada hace tan solo unas semanas. ¿Estamos ante una solución que mejorará la seguridad de las personas o se entrometerá siendo usada para invadir nuestra privacidad?
Una tecnología que todavía crea desconfianza al público
La suplantación de la identidad continúa siendo uno de los riesgos que hace que las medidas de ciberseguridad se hayan convertido en una cuestión de Estado. Países como Estonia están digitalizándose a un ritmo frenético, pero el robo de datos continúa siendo uno de los peligros más sustanciales en cuanto a esta tecnología.

Rekognition ha llegado al mercado con defensores y detractores por partes iguales. Zoran Gagic
Uno de sus principales servicios a ofrecer estaría relacionado con el campo de la seguridad en ciertas áreas públicas como los parques infantiles. Esta tecnología, tal y como se puede leer en el portal citado, ha demostrado ser eficiente a la hora de descubrir cómo un niño se ha extraviado.
En la red, estamos acostumbrados a aceptar las políticas de privacidad
Es pronto para analizar qué posibles consecuencias se derivan de su utilización en el medio plazo. No obstante, viendo cómo hemos ido cediendo información gracias al mundo digitalizado, no sería de extrañar que las sociedades, en el medio plazo, terminen siendo monitorizadas por los Estados a través de estas cámaras.
Ahora bien, ¿qué decir del sector privado? ¿Habrá compañías que puedan contar con este tipo de tecnología con el objetivo de mejorar sus ingresos futuros? Está por ver, primero, cómo se estandariza esta tecnología en el campo de la las administraciones públicas.